本文是对 ZgoCloud 的 Los Angeles AMD Performance VPS 系列 Starter 型号的测评,ZgoCloud评测 包含机器性能、网络连通、流媒体解锁等项目。另外说明了 ZgoCloud 的机器的特点,和购买建议,为需要 VPS 的朋友提供参考。

ZgoCloud 成立于 2023 年 4 月,以高性能和高性价比为主要卖点,CPU 使用最新一代 AMD EPYC 和 Intel Xeon,提供 DDR5 内存,这在众多中小 VPS 提供商中是少有竞品的。与依然使用 E5 的商家相比,ZgoCloud 的机器在性能上是他们的 2 到 3 倍。
目前 ZgoCloud 拥有德国、日本、美国、荷兰四个数据中心,接入日本 IIJ、美国 AS9929、美国 CN2 等优质直连线路。强劲的性能加上直连的大口径带宽,使得 ZgoCloud 的机器十分适合做站、自建服务等生产力需求。
由于 2023 年 12 月以来联通的 AS4837 线路持续拉胯,不能满足客户需求,ZgoCloud 美国产品的线路已经全部升级为 AS9929,原有套餐将在下次续费采用新的价格,实际上,对于生产力需求来说,性价比下降了不少,因为线路太好提价 3 – 5 成
ZgoCloud 官网: https://zgovps.com/
TOS: Terms of Service – ZgoCloud (zgovps.com) (正常合理的使用都不会违反)
AUP: Acceptable Use Policy – ZgoCloud (zgovps.com)
综合推荐:纯生产力 –> ⭐⭐⭐ / ⭐⭐⭐⭐⭐ <– 兼顾海外业务
个人评价:机器可以做站、自建服务,当然最适合……,E5 上要等 1 分钟的命令这儿几秒就好了,丝滑体验,差距真的很大。商家诚信经营,虽然成立时间不长,值得信任。在 2023 年 11 月左右,联通的海缆断了导致 4837 炸了,ZgoCloud 切到 9929 一个月以保障网络质量,在 2024 年 1 月,全美西 9929 炸了之后,切到 CMIN2。但是,美西全部改 9929 提高了售价,对于生产力性价比降低、对于海外业务性价比更高了。
AhFei 已经购买了 4 台,日本 Ryzen 和美国 Xeon 与 EPYC,以及下面这次的测评机型。
- 美国 Xeon 目前是我的核心机器,最重要的服务运行在上面: 导航网站、Bitwarden、joplin server、gitea、在线 VSCode、Prometheus and Grafana。
- 日本 Ryzen 是媒体中心,7950 的性能保障 Emby 解码
- 美国 AMD EPYC 7B13 运行博客: 技焉洲 – Linux,单片机,编程 (vfly2.com)
Zgo 让我对其他机都失去了兴趣,很是节省时间,不管怎么对比,都是 Zgo 更有性价比,RN、CC 等,抛了不少其他机子
Telegram 频道: https://t.me/zgocloudchannel
另外,有一个购买了产品才能加入的内部群,比较活跃,发工单进入。
在售产品页面: ZgoCloud Products (zgovps.com)
支付方式:
- 支付宝
- PayPal (付款时,注册账户的邮箱与填写的信息要和 PayPal 保持一致,否则会认定欺诈)
Los Angeles AMD Performance VPS – Specials
CPU 是 AMD Ryzen9 7950X,内存为 DDR5,硬盘为 NVMe 的固态
都带有 1 IPV4 & /64 IPV6,中国三网优化线路——CMI 9929 CN2,只有年付。
购买链接都带有 aff,会为 AhFei 带来一点佣金,感谢对 AhFei 的支持。
| 购买链接 | 型号 | 价格 | 核心数 | RAM | 硬盘 | 带宽 | 月流量 |
|---|---|---|---|---|---|---|---|
| Starter sale link | Starter | $38.90/yr | 1 C | 1 G | 25 GB | 500Mbps | 1T |
| Standard sale link | Standard | $58.90/yr | 2 C | 2 G | 40 GB | 500Mbps | 2T |
右键复制网址,删除
&affid=366即可去除 aff
ZgoCloud测评
测试时间:2024 年 1 月 27 号午后
基础信息
CPU 型号 : AMD Ryzen 9 7950X 16-Core Processor
CPU 核心数 : 1
CPU 频率 : 4491.540 MHz
CPU 缓存 : L1: 32.00 KB / L2: 1.00 MB / L3: 64.00 MB
硬盘空间 : 2.68 GiB / 24.82 GiB
启动盘路径 : /dev/sda3
内存 : 289.47 MiB / 926.15 MiB
Swap : [ no swap partition or swap file detected ]
系统在线时间 : 0 days, 0 hour 18 min
负载 : 0.23, 0.10, 0.05
系统 : Debian GNU/Linux 12 (bookworm) (x86_64)
AES-NI指令集 : ✔ Enabled
VM-x/AMD-V支持 : ✔ Enabled
架构 : x86_64 (64 Bit)
内核 : 6.1.0-9-amd64
TCP加速方式 : bbr
虚拟化架构 : KVM
NAT类型 : 开放型
IPV4 ASN : AS8796 FASTNET DATA INC
IPV4 位置 : Los Angeles / California / US
IPV6 ASN : AS8796 FASTNET DATA INC
IPV6 位置 : Rancho Cucamonga / US-CA
IPV6 子网掩码 : 64
CPU测试
sysbench
-> CPU 测试中 (Fast Mode, 1-Pass @ 5sec)
1 线程测试(单核)得分: 6301 Scores
Geekbench 5: zgoUS7950X – Geekbench
- 单核分数:2033
内存测试
lemonbench
-> 内存测试 Test (Fast Mode, 1-Pass @ 5sec)
单线程读测试: 74544.61 MB/s
单线程写测试: 41572.69 MB/s
磁盘 IO 测试
dd读写测试
-> 磁盘IO测试中 (4K Block/1M Block, Direct Mode)
测试操作 写速度 读速度
100MB-4K Block 141 MB/s (34.38 IOPS, 0.74s) 181 MB/s (44115 IOPS, 0.58s)
1GB-1M Block 1.8 GB/s (1680 IOPS, 0.60s) 5.1 GB/s (4821 IOPS, 0.21s)
fio读写测试
Block Size | 4k (IOPS) | 64k (IOPS)
------ | --- ---- | ---- ----
Read | 582.25 MB/s (145.5k) | 3.66 GB/s (57.3k)
Write | 583.79 MB/s (145.9k) | 3.68 GB/s (57.6k)
Total | 1.16 GB/s (291.5k) | 7.35 GB/s (114.9k)
| |
Block Size | 512k (IOPS) | 1m (IOPS)
------ | --- ---- | ---- ----
Read | 3.36 GB/s (6.5k) | 3.50 GB/s (3.4k)
Write | 3.53 GB/s (6.9k) | 3.73 GB/s (3.6k)
Total | 6.89 GB/s (13.4k) | 7.24 GB/s (7.0k)
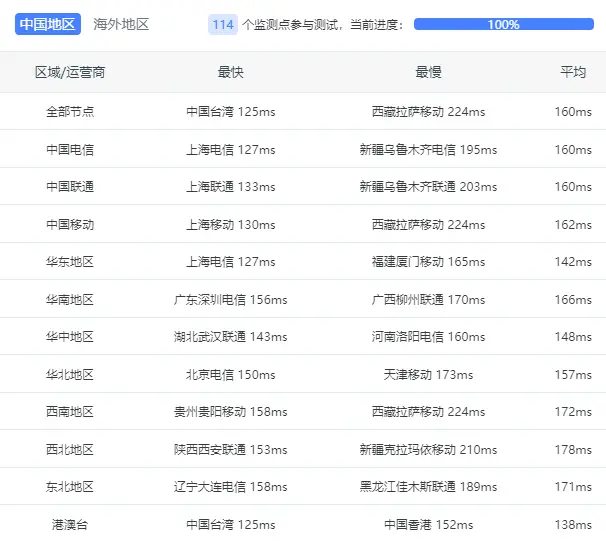
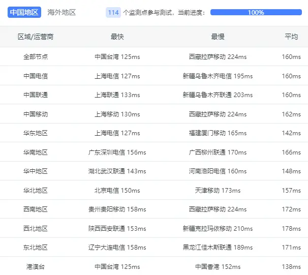
三网回程
线路
测试时电信还未过白,因此尚未走 CN2 线路
国家: US 城市: Los Angeles 服务商: AS8796 FASTNET DATA INC
北京电信 219.141.136.12 联通9929[优质线路]
北京联通 202.106.50.1 联通9929[优质线路]
北京移动 221.179.155.161 移动CMI [普通线路]
上海电信 202.96.209.133 联通9929[优质线路]
上海联通 210.22.97.1 联通9929[优质线路]
上海移动 211.136.112.200 移动CMI [普通线路]
广州电信 58.60.188.222 联通9929[优质线路]
广州联通 210.21.196.6 联通9929[优质线路]
广州移动 120.196.165.24 移动CMI [普通线路]
成都电信 61.139.2.69 联通9929[优质线路]
成都联通 119.6.6.6 联通4837[普通线路]
成都移动 211.137.96.205 移动CMI [普通线路]
回程路由
依次测试电信/联通/移动经过的地区及线路,核心程序来自ipip.net或nexttrace,请知悉!
广州电信 58.60.188.222
12.81 ms AS8796 美国, 加利福尼亚州, 洛杉矶, technolink.top
0.55 ms * 局域网
1.15 ms * 局域网
0.70 ms AS10099 美国, 加利福尼亚州, 洛杉矶, chinaunicom.com, 联通
131.61 ms AS10099 中国, 上海, chinaunicom.com, 联通
132.41 ms AS9929 中国, 上海, chinaunicom.com, 联通
157.92 ms AS9929 中国, 广东, 广州, chinaunicom.com, 联通
156.77 ms * 中国, 广东, 广州, chinaunicom.com, 联通
156.33 ms AS4134 中国, 广东, 深圳, chinatelecom.com.cn, 电信
155.35 ms AS4134 中国, 广东, 深圳, chinatelecom.com.cn, 电信
广州联通 210.21.196.6
0.42 ms * 局域网
0.72 ms AS10099 美国, 加利福尼亚州, 洛杉矶, chinaunicom.com, 联通
128.75 ms AS10099 中国, 上海, chinaunicom.com, 联通
129.54 ms * 中国, chinaunicom.com, 联通
155.71 ms AS9929 中国, 广东, 广州, chinaunicom.com, 联通
158.52 ms * 中国, 广东, 广州, chinaunicom.com, 联通
162.14 ms AS4837 中国, 广东, 广州, chinaunicom.com, 联通
160.52 ms AS17816 中国, 广东, 深圳, chinaunicom.com, 联通
164.68 ms AS17623 中国, 广东, 深圳, chinaunicom.com, 联通
162.17 ms AS17623 中国, 广东, 深圳, chinaunicom.com, 联通
广州移动 120.196.165.24
9.95 ms AS8796 美国, 加利福尼亚州, 洛杉矶, technolink.top
0.54 ms * 局域网
0.81 ms * 局域网
1.03 ms AS58807 美国, 加利福尼亚州, 洛杉矶, chinamobile.com, 移动
127.20 ms AS58807 美国, 加利福尼亚州, 洛杉矶, chinamobile.com, 移动
126.28 ms AS58807 中国, 上海, chinamobile.com, 移动
128.21 ms AS9808 中国, chinamobile.com, 移动
128.05 ms AS9808 中国, 上海, chinamobile.com, 移动
128.22 ms AS9808 中国, 上海, chinamobile.com, 移动
153.15 ms AS9808 中国, 北京, chinamobile.com, 移动
154.63 ms AS9808 中国, 北京, chinamobile.com, 移动
153.90 ms AS56040 中国, 广东, 深圳, chinamobile.com, 移动
晚高峰 9 点到 10 点期间延迟测试


YouTube 测速在 10 W 到 20 W

带宽测试
位置 上传速度 下载速度 延迟 丢包率
Speedtest.net 514.26 Mbps 193.85 Mbps 41.42 0.0%
洛杉矶 512.68 Mbps 360.74 Mbps 3.41 0.0%
日本东京 519.08 Mbps 465.39 Mbps 100.14 6.0%
联通上海5G 15.33 Mbps 11.36 Mbps 133.67 0.0%
电信合肥5G 14.52 Mbps 237.26 Mbps 138.27 0.0%
移动陕西5G 379.66 Mbps 176.76 Mbps 186.84 0.0%
移动Lanzhou 510.15 Mbps 94.28 Mbps 201.73 NULL
流媒体 解锁
以下测试的解锁地区是准确的,但是不是完整解锁的判断可能有误,这方面仅作参考使用
----------------Youtube----------------
[IPv4]
连接方式: Youtube Video Server
视频缓存节点地域: 美国 洛杉机(LAX17S56)
Youtube识别地域: 无信息(null)
[IPv6]
连接方式: Youtube Video Server
视频缓存节点地域: 美国 洛杉机(LAX31S13)
Youtube识别地域: 无信息(null)
----------------Netflix----------------
[IPv4]
您的出口IP完整解锁Netflix,支持非自制剧的观看
NF所识别的IP地域信息:美国
[IPv6]
您的出口IP完整解锁Netflix,支持非自制剧的观看
NF所识别的IP地域信息:美国
---------------DisneyPlus---------------
[IPv4]
当前IPv4出口解锁DisneyPlus
区域:美国区
[IPv6]
当前IPv6出口解锁DisneyPlus
区域:美国区
解锁Youtube,Netflix,DisneyPlus上面和下面进行比较,不同之处自行判断
由于同 /24 IP 段不当使用,目前 IP 送中情况频发,仅影响 YouTube Premium
以下为IPV4网络测试,若无IPV4网络则无输出
============[ Multination ]============
Dazn: Yes (Region: US)
HotStar: Yes (Region: US)
Disney+: Yes (Region: US)
Netflix: Yes (Region: US)
YouTube Premium: No (Region: CN)
Amazon Prime Video: Yes (Region: US)
TVBAnywhere+: Yes
iQyi Oversea Region: US
Viu.com: No
YouTube CDN: Los Angeles, CA
Netflix Preferred CDN: Los Angeles, CA
Spotify Registration: No
Steam Currency: USD
ChatGPT: Yes
Bing Region: US
以下为IPV6网络测试,若无IPV6网络则无输出
============[ Multination ]============
Dazn: Failed (Network Connection)
HotStar: Yes (Region: US)
Disney+: Yes (Region: US)
Netflix: Yes (Region: US)
YouTube Premium: Yes
Amazon Prime Video: Unsupported
TVBAnywhere+: Failed (Network Connection)
iQyi Oversea Region: Failed
Viu.com: Failed
YouTube CDN: Los Angeles, CA
Netflix Preferred CDN: Los Angeles, CA
Spotify Registration: No
Steam Currency: Failed (Network Connection)
ChatGPT: Failed
Bing Region: US
---------------TikTok解锁--感谢lmc999的源脚本及fscarmen PR--------------
Tiktok Region: 【US】
IP质量检测
数据仅作参考,不代表100%准确,如果和实际情况不一致请手动查询多个数据库比对
以下为各数据库编号,输出结果后将自带数据库来源对应的编号
ipinfo数据库 ① | scamalytics数据库 ② | virustotal数据库 ③ | abuseipdb数据库 ④ | ip2location数据库 ⑤
ip-api数据库 ⑥ | ipwhois数据库 ⑦ | ipregistry数据库 ⑧ | ipdata数据库 ⑨ | ipgeolocation数据库 ⑩
欺诈分数(越低越好): 0②
abuse得分(越低越好): 0④
IP类型:
使用类型(usage_type):hosting① Commercial⑤ hosting⑧ business⑨
公司类型(company_type):hosting① hosting⑧
云服务提供商(cloud_provider): Yes⑧
数据中心(datacenter): No⑥ ⑨
移动网络(mobile): No⑥
代理(proxy): No① ② ⑥ ⑦ ⑧ ⑨ ⑩
VPN(vpn): No① ② ⑦ ⑧
TOR(tor): No① ② ⑦ ⑧ ⑨
TOR出口(tor_exit): No⑧
搜索引擎机器人(search_engine_robot):②
匿名代理(anonymous): No⑦ ⑧ ⑨
攻击方(attacker): No⑧ ⑨
滥用者(abuser): No⑧ ⑨
威胁(threat): No⑧ ⑨
iCloud中继(icloud_relay): No① ⑧ ⑨
未分配IP(bogon): No⑧ ⑨
黑名单记录统计(有多少个黑名单网站有记录): 无害0 恶意0 可疑0 未检测89 ③
Google搜索可行性:YES
------以下为IPV6检测------
欺诈分数(越低越好): 0②
abuse得分(越低越好): 0④
IP类型: Data Center/Web Hosting/Transit⑤
感谢开源的测试脚本,本文使用了:
- 融合怪: https://github.com/spiritLHLS/ecs
- Geekbench 5 专测: https://github.com/i-abc/GB5
原文链接: https://tashcp.com/2024/01/zgocloud-Los-Angeles-amd-Ryzen9-7950X-test-evaluate/
版权声明:本博客所有文章除特別声明外,均为 AhFei 原创,采用 CC BY-NC-SA 4.0 许可协议。转载请注明来源 他山测评 – 服务器,数码,服务 (tashcp.com)。