本文是对 BandwagonHost 的 PLAN 系列在香港机房的测评,搬瓦工测评 包含机器性能、网络连通、流媒体解锁等项目。另外说明了搬瓦工的机器的特点,和购买建议,为需要 VPS 的朋友提供参考。

搬瓦工在机界应该无人不知,推出的优惠机型受到热捧。它在世界各地拥有众多数据中心,拥有最顶级的 CN2-GIA 线路,其中最受中国客户欢迎的应该是洛杉矶和香港的产品。
搬瓦工经过多年运营,稳定性受到一致认可,另外,以 CN2-GIA 为代表的顶级的网络资源使得中国的用户在绝大多数网络环境下都能有最好的体验。稳定和网络两个特点适合垂直型、面向高净值客户的网站,或者用于转发。
然而,对于一般用户,其孱弱的硬件性能、奇差的 IP 质量、昂贵的售价等使得上面的两点优势很难发挥出来。
BandwagonHost 官网: Mass VPS hosting on Enterprise equipment – BandwagonHost VPS
TOS: Knowledge Base – Mass VPS hosting on Enterprise equipment – BandwagonHost VPS
支付方式: 支付宝、PayPal、信用卡 (Stripe) 、银联支付
综合推荐:一般用户 –> ⭐⭐⭐ / ⭐⭐⭐⭐⭐ <– 追求稳定和快速,能用到就很值
个人评价:可能在现代社会,能把一方面做到极致就是比均衡的要吃香,我感觉搬瓦工稳定和快速之外,一无是处(营销也很成功)。有着明确需求的话,非常推荐购买搬瓦工的机器;它过去的活动机型在二手市场有不小的溢价,如果奔着理财产品去,有闲可以试。
个人经历:购买过三款产品,22 年春洛杉矶和 22 年夏香港的 74.xx 刀机器,那时候没怎么用就到期了(优质客户),然后是本文的 23 年初的 PLAN 1,一年的用的流量都没有 1 T,它这个性能真的做不了什么,除了“转发”,但个人又会用多少。再过 3 天到期,已经出掉。
“认识自己”,没有明确需求,不建议购买。它的正价产品买着很亏,等有活动入手。
PLAN 1
仅有 IPv4,搬瓦工就没有提供 IPv6 的机器。下面是当初官网的介绍页面:
Now, for a very limited time, you can get all of the above in one plan, plus we will also throw in:
- Free automated backups
- Free snapshots
- Automatic migration between datacenters
- No contract, anytime cancellation
- Instant RDNS update, OS reloads, Console access from the control panel
- 99.9% uptime guarantee
- Rewards program — get 1–10% cash back!
- 30–day money back guarantee
Double SSD: 20 GB 40 GB RAID-10
Double RAM: 1 GB 2 GB
Double CPU: 1 core 2 cores
Double Monthly Transfer: 500 GB 1000 GB
Datacenters: up to 5 datacenters 17 datacenters:
As always, you can switch the datacenter in the control panel after VM is live.
Sydney, Australia: 2.5 Gbps
New Jersey, USA: 1 Gbps
New York, USA: 2.5 Gbps
Amsterdam, Netherlands, EUNL_3/ i3d: 1 Gbps
Amsterdam, Netherlands, EUNL_9/ China Unicom: 2.5 Gbps
Los Angeles, USA, USCA_2/ QNET: 1 Gbps
Los Angeles, USA, USCA_3/ CN2 GT: 1 Gbps
Los Angeles, USA, USCA_4/ MCOM: 1 Gbps
Los Angeles, USA, USCA_6/ CN2GIA-E: 2.5 Gbps
Los Angeles, USA, USCA_8/ ZNET: 1 Gbps
Los Angeles, USA, USCA_9/ CN2GIA: 1 Gbps
Vancouver, Canada (CN2GIA will be added in February 2023): 2.5 Gbps
Fremont, USA/ HE: 2.5 Gbps
Fremont, USA/ China Unicom: 2.5 Gbps
Hong Kong: 2.5 Gbps
Osaka, Japan: 2.5 Gbps
Dubai, UAE: 2.5 Gbps
搬瓦工测评
测试时间:2024 年 1 月 11 号凌晨
基础信息
CPU 型号 : QEMU Virtual CPU version (cpu64-rhel6)
CPU 核心数 : 2
CPU 频率 : 2699.998 MHz
CPU 缓存 : L1: 64.00 KB / L2: 8.00 MB / L3: 16.00 MB
硬盘空间 : 4.96 GiB / 38.84 GiB
启动盘路径 : /dev/sda2
内存 : 468.11 MiB / 1.94 GiB
Swap : 560 KiB / 1024.00 MiB
系统在线时间 : 26 days, 4 hour 44 min
负载 : 0.18, 0.10, 0.07
系统 : Debian GNU/Linux 12 (bookworm) (x86_64)
AES-NI指令集 : ✔ Enabled
VM-x/AMD-V支持 : ❌ Disabled
架构 : x86_64 (64 Bit)
内核 : 6.1.0-15-amd64
TCP加速方式 : bbr
虚拟化架构 : KVM
NAT类型 : 开放型
IPV4 ASN : AS9312 xTom
IPV4 位置 : Hong Kong / Central and Western / HK
CPU测试
lemonbench
-> CPU 测试中 (Fast Mode, 1-Pass @ 5sec)
1 线程测试(单核)得分: 666 Scores
2 线程测试(多核)得分: 1275 Scores
Geekbench 5: Red Hat KVM – Geekbench
单核测试分数:522
多核测试分数:991
内存测试
lemonbench
-> 内存测试 Test (Fast Mode, 1-Pass @ 5sec)
单线程读测试: 13674.53 MB/s
单线程写测试: 12276.11 MB/s
硬盘 IO 测试
dd读写测试
-> 磁盘IO测试中 (4K Block/1M Block, Direct Mode)
测试操作 写速度 读速度
100MB-4K Block 15.2 MB/s (3707 IOPS, 6.91s) 19.5 MB/s (4753 IOPS, 5.39s)
1GB-1M Block 343 MB/s (327 IOPS, 3.06s) 1.0 GB/s (975 IOPS, 1.03s)
fio读写测试
Block Size | 4k (IOPS) | 64k (IOPS)
------ | --- ---- | ---- ----
Read | 40.31 MB/s (10.0k) | 454.50 MB/s (7.1k)
Write | 40.40 MB/s (10.1k) | 456.90 MB/s (7.1k)
Total | 80.71 MB/s (20.1k) | 911.40 MB/s (14.2k)
| |
Block Size | 512k (IOPS) | 1m (IOPS)
------ | --- ---- | ---- ----
Read | 984.52 MB/s (1.9k) | 1.18 GB/s (1.1k)
Write | 1.03 GB/s (2.0k) | 1.26 GB/s (1.2k)
Total | 2.02 GB/s (3.9k) | 2.45 GB/s (2.3k)
三网回程
线路
国家: HK 城市: Hong Kong 服务商: AS9312 xTom
北京电信 219.141.136.12 移动CMI [普通线路]
北京联通 202.106.50.1 移动CMI [普通线路]
北京移动 221.179.155.161 移动CMI [普通线路]
上海电信 202.96.209.133 移动CMI [普通线路]
上海联通 210.22.97.1 移动CMI [普通线路]
上海移动 211.136.112.200 移动CMI [普通线路]
广州电信 58.60.188.222 移动CMI [普通线路]
广州联通 210.21.196.6 移动CMI [普通线路]
广州移动 120.196.165.24 移动CMI [普通线路]
成都电信 61.139.2.69 移动CMI [普通线路]
成都联通 119.6.6.6 移动CMI [普通线路]
成都移动 211.137.96.205 移动CMI [普通线路]
回程路由
依次测试电信/联通/移动经过的地区及线路,核心程序来自ipip.net或nexttrace,请知悉!
广州电信 58.60.188.222
17.93 ms * 局域网
0.59 ms AS9312 中国, 香港, xtom.com
0.60 ms AS58453 中国, 香港, chinamobile.com, 移动
0.55 ms AS58453 中国, 香港, chinamobile.com, 移动
2.07 ms AS58453 中国, 香港, chinamobile.com, 移动
26.92 ms AS58453 中国, 上海, chinamobile.com, 移动
27.98 ms AS9808 中国, 上海, chinamobile.com, 移动
35.36 ms AS9808 中国, 广东, 广州, chinamobile.com, 移动
35.20 ms AS4134 中国, 广东, 广州, chinatelecom.com.cn, 电信
38.91 ms AS4134 中国, 广东, 深圳, chinatelecom.com.cn, 电信
38.70 ms AS4134 中国, 广东, 深圳, chinatelecom.com.cn, 电信
广州联通 210.21.196.6
17.65 ms * 局域网
22.52 ms AS9312 中国, 香港, xtom.com
0.66 ms AS9312 中国, 香港, xtom.com
0.50 ms AS58453 中国, 香港, chinamobile.com, 移动
0.60 ms AS58453 中国, 香港, chinamobile.com, 移动
2.38 ms AS58453 中国, 香港, chinamobile.com, 移动
26.71 ms AS58453 中国, 上海, chinamobile.com, 移动
27.94 ms AS9808 中国, 上海, chinamobile.com, 移动
28.58 ms AS9808 中国, 上海, chinamobile.com, 移动
29.42 ms AS9808 中国, 上海, chinamobile.com, 移动
32.59 ms AS9808 中国, 广东, 广州, chinamobile.com, 移动
85.43 ms AS4837 中国, 广东, 广州, chinaunicom.com, 联通
83.83 ms AS4837 中国, 广东, 广州, chinaunicom.com, 联通
107.08 ms AS17816 中国, 广东, 广州, chinaunicom.com, 联通
90.45 ms AS17623 中国, 广东, 深圳, chinaunicom.com, 联通
89.08 ms AS17623 中国, 广东, 深圳, chinaunicom.com, 联通
广州移动 120.196.165.24
17.44 ms * 局域网
0.40 ms AS9312 中国, 香港, xtom.com
9.17 ms AS9312 中国, 香港, xtom.com
0.63 ms AS58453 中国, 香港, chinamobile.com, 移动
4.35 ms AS58453 中国, 香港, chinamobile.com, 移动
8.47 ms AS58453 中国, 广东, 广州, chinamobile.com, 移动
8.00 ms AS9808 中国, 广东, 广州, chinamobile.com, 移动
9.16 ms AS9808 中国, 广东, 广州, chinamobile.com, 移动
9.68 ms AS9808 中国, 广东, 广州, chinamobile.com, 移动
11.20 ms AS9808 中国, 广东, 广州, chinamobile.com, 移动
10.18 ms AS56040 中国, 广东, 深圳, chinamobile.com, 移动
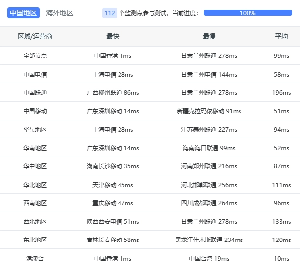
晚高峰 9 点到 10 点期间延迟测试


YouTube 测速可以达到 30 W

带宽测试
位置 上传速度 下载速度 延迟 丢包率
Speedtest.net 8001.96 Mbps 6680.75 Mbps 0.29 NULL
中国香港 700.50 Mbps 212.92 Mbps 3.28 NULL
新加坡 949.22 Mbps 938.87 Mbps 37.89 NULL
联通上海5G 26.12 Mbps 674.82 Mbps 84.75 0.0%
联通Fuzhou 626.87 Mbps 808.24 Mbps 110.13 0.3%
电信浙江 2103.26 Mbps 60.72 Mbps 39.13 NULL
移动Chengdu 3510.03 Mbps 3532.04 Mbps 56.19 0.0%
移动陕西5G 1957.51 Mbps 2010.82 Mbps 57.57 0.0%
流媒体 解锁
搬瓦工 IP 烂,众所周知,也没什么可放的其实
以下测试的解锁地区是准确的,但是不是完整解锁的判断可能有误,这方面仅作参考使用
----------------Youtube----------------
[IPv4]
连接方式: Youtube Video Server
视频缓存节点地域: 中国香港(HKG07S35)
Youtube识别地域: 香港(HK)
----------------Netflix----------------
[IPv4]
您的出口IP可以使用Netflix,但仅可看Netflix自制剧
NF所识别的IP地域信息:香港
---------------DisneyPlus---------------
[IPv4]
当前IPv4出口解锁DisneyPlus
区域:香港区
Dazn: Yes (Region: HK)
HotStar: No
Disney+: No
Netflix: Originals Only
YouTube Premium: Yes (Region: HK)
Amazon Prime Video: Yes (Region: HK)
TVBAnywhere+: No
iQyi Oversea Region: HK
Viu.com: Yes (Region: HK)
YouTube CDN: Hong Kong
Netflix Preferred CDN: Hong Kong
Spotify Registration: No
Steam Currency: HKD
ChatGPT: Only Available with Mobile APP
Bing Region: HK
---------------TikTok解锁--感谢lmc999的源脚本及fscarmen PR--------------
Tiktok Region: Failed
IP质量检测
数据仅作参考,不代表100%准确,如果和实际情况不一致请手动查询多个数据库比对
以下为各数据库编号,输出结果后将自带数据库来源对应的编号
ipinfo数据库 ① | scamalytics数据库 ② | virustotal数据库 ③ | abuseipdb数据库 ④ | ip2location数据库 ⑤
ip-api数据库 ⑥ | ipwhois数据库 ⑦ | ipregistry数据库 ⑧ | ipdata数据库 ⑨ | ipgeolocation数据库 ⑩
欺诈分数(越低越好): 0②
abuse得分(越低越好): 0④
IP类型:
使用类型(usage_type):hosting① Data Center/Web Hosting/Transit⑤ hosting⑧ business⑨
公司类型(company_type):hosting① business⑧
云服务提供商(cloud_provider): Yes⑧
数据中心(datacenter): Yes⑥ No⑨
移动网络(mobile): No⑥
代理(proxy): No① ② Yes⑥ ⑦ ⑧ ⑨ ⑩
VPN(vpn): No① ② Yes⑦ ⑧
TOR(tor): No① ② ⑦ ⑧ ⑨
TOR出口(tor_exit): No⑧
搜索引擎机器人(search_engine_robot):②
匿名代理(anonymous): Yes⑦ ⑧ No⑨
攻击方(attacker): No⑧ ⑨
滥用者(abuser): No⑧ ⑨
威胁(threat): No⑧ ⑨
iCloud中继(icloud_relay): No① ⑧ ⑨
未分配IP(bogon): No⑧ ⑨
黑名单记录统计(有多少个黑名单网站有记录): 无害0 恶意0 可疑0 未检测89 ③
Google搜索可行性:YES
端口25检测:
本地: No
163邮箱: Yes
gmail邮箱: Yes
qq邮箱:No
outlook邮箱: Yes
yandex邮箱: Yes
感谢开源的测试脚本,本文使用了:
- 融合怪: https://github.com/spiritLHLS/ecs
- Geekbench 5 专测: https://github.com/i-abc/GB5
原文链接: https://tashcp.com/2024/01/BandwagonHost-HK85-test-evaluate/
版权声明:本博客所有文章除特別声明外,均为 AhFei 原创,采用 CC BY-NC-SA 4.0 许可协议。转载请注明来源 他山测评 – 服务器,数码,服务 (tashcp.com)。