这是上年 12 月的活动,当时买完没有立即写测评,现在补上,活动早就过去了。
NovaCloud-Hosting 不了解,第一次买。CPU 性能很强,我用于 CI 代码测试和软件编译,速度很快,拉取镜像和包的时候网速也快,2 个月过去没有发生过停机,可以用于一些对在线率要求不高的生产需求,性价比高。对国内的网络互联就很差了,没需求不建议购买。

NovaCloud-Hosting 官网: https://shop.novacloud-hosting.com/index.php
TOS: Terms and Conditions of NovaCloud-Hosting.com ,需要特别注意的是不保障 SLA,以及无通知删除违规账户并不予赔偿。
支付方式:
- Apple Pay
- Visa, MasterCard / 信用卡
- PayPal
- Crypto / 加密货币
- 等
Winter Ryzen M
地理位置在德国,CPU 是 AMD Ryzen 9 7950X3D,内存为 DDR5,硬盘为 NVMe 的固态
都带有 1 IPV4 & /48 IPV6,DDoS 防护 4Tbps,3 次备份。
可以安装的系统:
- Debian、Ubuntu、CentOS、Fedora、AlmaLinux 等
- FreeBSD
- Windows
- 自定义的 ISO (通过工单)
NovaCloud测评
测试时间:2025 年 12 月 7 号
基础信息
CPU 型号 : AMD Ryzen 9 7950X3D 16-Core Processor
CPU 核心数 : 2
CPU 频率 : 4192.124 MHz
CPU 缓存 : L1: 128.00 KB / L2: 1.00 MB / L3: 32.00 MB
AES-NI指令集 : ✔ Enabled
VM-x/AMD-V支持 : ✔ Enabled
内存 : 279.32 MiB / 3.82 GiB
Swap : [ no swap partition or swap file detected ]
硬盘空间 : 2.22 GiB / 39.17 GiB
启动盘路径 : /dev/vda1
系统在线时间 : 0 days, 0 hour 3 min
负载 : 0.13, 0.09, 0.03
系统 : Debian GNU/Linux 12 (bookworm) (x86_64)
架构 : x86_64 (64 Bit)
内核 : 6.1.0-41-amd64
TCP加速方式 : bbr
虚拟化架构 : KVM
NAT类型 : Full Cone
IPV4 ASN : AS209874 Tech Tide Portugal Unipessoal LDA
IPV4 位置 : Frankfurt am Main / Hesse / DE
IPV6 ASN : AS209874 Tech Tide Portugal Unipessoal LDA
IPV6 位置 : United Kingdom
IPV6 子网掩码 : 48
CPU 测试
sysbench
-> CPU 测试中 (Fast Mode, 1-Pass @ 5sec)
1 线程测试(单核)得分: 6877 Scores
2 线程测试(多核)得分: 13562 Scores
Geekbench 5: Nova – Geekbench
- 单核分数:2247
- 多核分数:4007
是我见过单核最强的机器,包括我自己的家用服务器和电脑都没这个强。
内存测试
lemonbench
-> 内存测试 Test (Fast Mode, 1-Pass @ 5sec)
单线程读测试: 78105.59 MB/s
单线程写测试: 45570.93 MB/s
硬盘 IO 测试
dd读写测试
-> 磁盘IO测试中 (4K Block/1M Block, Direct Mode)
测试操作 写速度 读速度
100MB-4K Block 191 MB/s (46.56 IOPS, 0.55s) 396 MB/s (96746 IOPS, 0.26s)
1GB-1M Block 13.7 GB/s (13.04 IOPS, 0.08s) 23.6 GB/s (22471 IOPS, 0.04s)
fio读写测试
Block Size | 4k (IOPS) | 64k (IOPS)
------ | --- ---- | ---- ----
Read | 221.23 MB/s (55.3k) | 1.58 GB/s (24.7k)
Write | 221.81 MB/s (55.4k) | 1.59 GB/s (24.9k)
Total | 443.04 MB/s (110.7k) | 3.17 GB/s (49.6k)
| |
Block Size | 512k (IOPS) | 1m (IOPS)
------ | --- ---- | ---- ----
Read | 4.68 GB/s (9.1k) | 5.65 GB/s (5.5k)
Write | 4.93 GB/s (9.6k) | 6.02 GB/s (5.8k)
Total | 9.61 GB/s (18.7k) | 11.68 GB/s (11.4k)
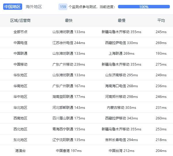
三网回程
线路
国家: DE 城市: Frankfurt am Main 服务商: AS209874 Tech Tide Portugal Unipessoal LDA
AS203446
SMARTNET LIMITED
Direct
北京电信v4 219.141.140.10 电信163 [普通线路]
北京联通v4 202.106.195.68 检测不到回程路由节点的IP地址
北京移动v4 221.179.155.161 检测不到回程路由节点的IPV4地址
上海电信v4 202.96.209.133 检测不到回程路由节点的IPV4地址
上海联通v4 210.22.97.1 检测不到回程路由节点的IPV4地址
上海移动v4 211.136.112.200 检测不到回程路由节点的IPV4地址
广州电信v4 58.60.188.222 检测不到回程路由节点的IPV4地址
广州联通v4 210.21.196.6 联通4837 [普通线路]
广州移动v4 120.196.165.24 移动CMI [普通线路]
成都电信v4 61.139.2.69 检测不到回程路由节点的IPV4地址
成都联通v4 119.6.6.6 联通4837 [普通线路]
成都移动v4 211.137.96.205 检测不到回程路由节点的IPV4地址
北京电信v6 2400:89c0:1053:3::69 检测不到回程路由节点的IPV6地址
北京联通v6 2400:89c0:1013:3::54 联通4837 [普通线路]
北京移动v6 2409:8c00:8421:1303::55 移动CMI [普通线路]
上海电信v6 240e:e1:aa00:4000::24 电信163 [普通线路]
上海联通v6 2408:80f1:21:5003::a 联通4837 [普通线路]
上海移动v6 2409:8c1e:75b0:3003::26 移动CMI [普通线路]
广州电信v6 240e:97c:2f:3000::44 电信163 [普通线路]
广州联通v6 2408:8756:f50:1001::c 联通4837 [普通线路]
广州移动v6 2409:8c54:871:1001::12 移动CMI [普通线路]
回程路由
依次测试电信/联通/移动经过的地区及线路,核心程序来自nexttrace,请知悉!
广州电信 58.60.188.222
252.84 ms AS4134 [CHINANET-BB] 中国 广东 广州 chinatelecom.com.cn 电信
271.10 ms AS4134 [CHINANET-BB] 中国 广东 广州 chinatelecom.com.cn 电信
* ms AS134774 [CHINANET-GD] 中国 广东 深圳 chinatelecom.cn 电信
广州联通 210.21.196.6
149.85 ms AS4837 [CU169-BACKBONE] 中国 北京 chinaunicom.cn 联通
183.07 ms AS17623 [APNIC-AP] 中国 广东 深圳 chinaunicom.cn 联通
221.45 ms AS17623 中国 广东 深圳 宝安区 chinaunicom.cn 联通
广州移动 120.196.165.24
17.61 ms AS2914 [NTT-BACKBONE] 奥地利 维也纳州 维也纳 gin.ntt.net
17.53 ms AS2914 [NTT-BACKBONE] 美国 弗吉尼亚 阿什本 gin.ntt.net
217.32 ms AS58453 [CMI-INT] 中国 广东 广州 cmi.chinamobile.com 移动
212.72 ms AS9808 [CMNET] 中国 广东 广州 X-I chinamobileltd.com 移动
213.75 ms AS9808 [CMNET] 中国 广东 广州 I-C chinamobileltd.com 移动
216.45 ms AS9808 [CMNET] 中国 广东 广州 chinamobileltd.com 移动
222.62 ms AS9808 [CMNET] 中国 广东 广州 chinamobileltd.com 移动
217.60 ms AS9808 [CMNET] 中国 广东 广州 chinamobileltd.com 移动
217.20 ms AS56040 [APNIC-AP] 中国 广东 深圳 gd.10086.cn 移动
晚高峰 10 点到 11 点期间延迟测试


带宽测试
位置 上传速度 下载速度 延迟
Speedtest.net 816.60Mbps 512.27Mbps 19.28ms
法兰克福 851.13Mbps 772.66Mbps 6.17ms
洛杉矶 58.26Mbps 170.10Mbps 172.90ms
联通上海5G 42.47Mbps 52.40Mbps 223.51ms
电信Suzhou5G 38.74Mbps 55.35Mbps 244.23ms
电信浙江 9.04Mbps 36.13Mbps 402.67ms
流媒体 解锁
---------------流媒体解锁--感谢oneclickvirt/UnlockTests测试----------------
测试时间: 2025-12-07 12:52:05
IPV4:
============[ 跨国平台 ]============
Apple YES (Region: DEU)
BingSearch YES (Region: GB)
Claude YES
Dazn YES (Region: DE)
Disney+ NO (forbidden-location)
Gemini NO
GoogleSearch YES
Google Play Store YES (Region: PT)
IQiYi YES (Region: DE)
Instagram Licensed Audio YES
KOCOWA YES
MetaAI YES (Region: GB)
Netflix YES (Region: DE)
Netflix CDN CH
OneTrust YES (Region: DE HESSE)
ChatGPT YES (Region: DE)
Paramount+ YES
Amazon Prime Video YES (Region: DE)
Reddit YES
SonyLiv YES (Region: DE)
Sora YES (Region: DE)
Spotify Registration NO
Steam Store YES (Community Available) (Region: DE)
TVBAnywhere+ YES (Region: DE)
TikTok YES (Region: DE)
Viu.com YES
Wikipedia Editability YES
YouTube Region YES (Region: PT)
YouTube CDN FRA
IPV6:
============[ 跨国平台 ]============
Apple YES (Region: DEU)
BingSearch YES (Region: GB)
Claude YES
Dazn N/A (No IPv6 Support)
Disney+ NO (forbidden-location)
Gemini NO
GoogleSearch YES
Google Play Store YES (Region: PT)
IQiYi N/A (No IPv6 Support)
Instagram Licensed Audio YES
KOCOWA N/A (No IPv6 Support)
MetaAI YES (Region: GB)
Netflix YES (Region: DE)
Netflix CDN CH
OneTrust YES (Region: DE HESSE)
ChatGPT Unknown
Paramount+ YES
Amazon Prime Video N/A (No IPv6 Support)
Reddit Failed (Network Connection Failed)
SonyLiv YES (Region: DE)
Sora YES (Region: DE)
Spotify Registration NO
Steam Store Failed (Network Connection Failed)
TVBAnywhere+ N/A (No IPv6 Support)
TikTok N/A (No IPv6 Support)
Viu.com N/A (No IPv6 Support)
Wikipedia Editability YES
YouTube Region YES (Region: PT)
YouTube CDN FRA
---------------------TikTok解锁--感谢lmc999的源脚本---------------------
Tiktok Region: Failed
IP 质量检测
数据仅作参考,不代表100%准确,如果和实际情况不一致请手动查询多个数据库比对
以下为各数据库编号,输出结果后将自带数据库来源对应的编号
ipinfo数据库 [0] | scamalytics数据库 [1] | virustotal数据库 [2] | abuseipdb数据库 [3] | ip2location数据库 [4]
ip-api数据库 [5] | ipwhois数据库 [6] | ipregistry数据库 [7] | ipdata数据库 [8] | db-ip数据库 [9]
ipapiis数据库 [A] | ipapicom数据库 [B] | bigdatacloud数据库 [C] | dkly数据库 [D] | ipqualityscore数据库 [E]
ipintel数据库 [F] | ipfighter数据库 [G] | fraudlogix数据库 [H] | cloudflare数据库 [I] |
IPV4:
安全得分:
信任得分(越高越好): 1 [8]
VPN得分(越低越好): 100 [8]
代理得分(越低越好): 99 [8]
社区投票-无害: 0 [2]
社区投票-恶意: 0 [2]
威胁得分(越低越好): 99 [8]
欺诈得分(越低越好): 0 [E]
滥用得分(越低越好): 0 [3]
ASN滥用得分(越低越好): 0.0049 (Low) [A]
公司滥用得分(越低越好): 0 (Very Low) [A]
威胁级别: low [9]
流量占比: 真人(越高越好)12% [I] 机器人(越低越好)87% [I]
黑名单记录统计:(有多少黑名单网站有记录):
无害记录数: 0 [2] 恶意记录数: 0 [2] 可疑记录数: 0 [2] 无记录数: 95 [2]
安全信息:
使用类型: hosting [0 3 7 9 A] unknown [8 C]
公司类型: hosting [0 7 A]
浏览器类型: 主流59% 其他40% [I]
设备类型: 桌面93% 移动6% 其他0% [I]
操作系统类型: 主流82% 其他17% [I]
是否云提供商: Yes [7]
是否数据中心: No [5 6 8 C G] Yes [0 A]
是否移动设备: No [5 A C G] Yes [E]
是否代理: Yes [G] No [0 4 5 6 7 8 9 A C E]
是否VPN: No [0 6 7 A C E G]
是否Tor: No [0 3 6 7 8 A C E]
是否Tor出口: No [7]
是否网络爬虫: No [9 A E]
是否匿名: No [6 7 8]
是否攻击者: No [7 8]
是否滥用者: No [7 8 A C E]
是否威胁: No [7 8 C]
是否中继: No [0 7 8 C]
是否Bogon: No [7 8 A C]
是否机器人: No [E]
DNS-黑名单: 314(Total_Check) 0(Clean) 0(Blacklisted) 0(Other)
IPV6:
安全得分:
滥用得分(越低越好): 0 [3]
ASN滥用得分(越低越好): 0.0049 (Low) [A]
公司滥用得分(越低越好): 0 (Very Low) [A]
流量占比: 真人(越高越好)12% [I] 机器人(越低越好)87% [I]
安全信息:
使用类型: hosting [3 A]
公司类型: hosting [A]
浏览器类型: 主流59% 其他40% [I]
设备类型: 桌面93% 移动6% 其他0% [I]
操作系统类型: 主流82% 其他17% [I]
是否数据中心: Yes [A] No [G]
是否移动设备: No [A G]
是否代理: No [A] Yes [G]
是否VPN: No [A G]
是否Tor: No [3 A]
是否网络爬虫: No [A]
是否滥用者: No [A]
是否Bogon: No [A]
DNS-黑名单: 314(Total_Check) 0(Clean) 0(Blacklisted) 314(Other)
Google搜索可行性:NO
邮件端口检测
Platform SMTP SMTPS POP3 POP3S IMAP IMAPS
LocalPort ✘ ✔ ✔ ✔ ✔ ✔
QQ ✔ ✔ ✔ ✘ ✔ ✘
163 ✔ ✔ ✔ ✘ ✔ ✘
Sohu ✔ ✔ ✔ ✘ ✔ ✘
Yandex ✔ ✔ ✔ ✘ ✔ ✘
Gmail ✔ ✔ ✘ ✘ ✘ ✘
Outlook ✔ ✘ ✔ ✘ ✔ ✘
Office365 ✔ ✘ ✔ ✘ ✔ ✘
Yahoo ✔ ✔ ✘ ✘ ✘ ✘
MailCOM ✔ ✔ ✔ ✘ ✔ ✘
MailRU ✔ ✔ ✘ ✘ ✔ ✘
AOL ✔ ✔ ✘ ✘ ✘ ✘
GMX ✔ ✔ ✔ ✘ ✔ ✘
Sina ✔ ✘ ✔ ✘ ✔ ✘
Apple ✘ ✘ ✘ ✘ ✘ ✘
FastMail ✘ ✔ ✘ ✘ ✘ ✘
ProtonMail✘ ✘ ✘ ✘ ✘ ✘
MXRoute ✔ ✘ ✔ ✘ ✔ ✘
Namecrane ✔ ✔ ✔ ✘ ✔ ✘
XYAMail ✘ ✘ ✘ ✘ ✘ ✘
ZohoMail ✘ ✔ ✘ ✘ ✘ ✘
Inbox_eu ✔ ✔ ✔ ✘ ✘ ✘
Free_fr ✘ ✔ ✔ ✘ ✔ ✘
感谢开源的测试脚本,本文使用了:
- 融合怪: https://github.com/oneclickvirt/ecs
- Geekbench 5 专测: https://github.com/i-abc/GB5
原文链接: https://tashcp.com/2026/02/NovaCloud-winter-sale-7950X3D-test-evaluate/
版权声明:本博客所有文章除特別声明外,均为 AhFei 原创,采用 CC BY-NC-SA 4.0 许可协议。转载请注明来源 他山测评 – 服务器,数码,服务 (tashcp.com)。